- Dostawa dłużycowa 167 zł
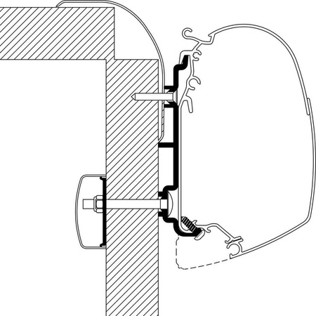
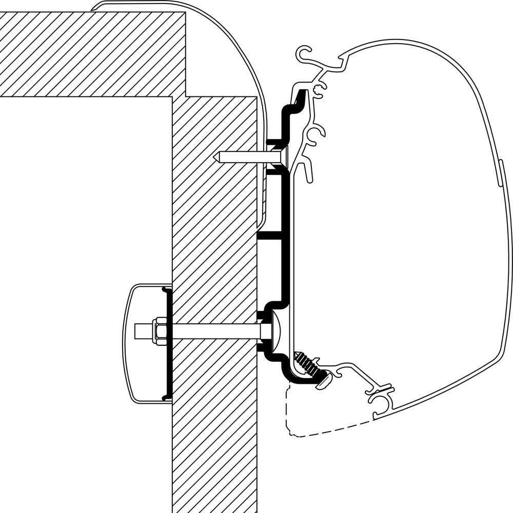
Adapter Frankia dla TO Series 5 i 8
Adapter ścienny dla pojazdów kempingowych
Marka
Symbol
90776
Kod producenta
5415182058186
Długość towaru w centrymetrach
591
Szerokość towaru w centrymetrach
10
Wysokość towaru w centrymetrach
13
Model pojazdu
Frankia wszystkie modele
Marka
Thule
Płyty adaptera
1,0
Waga brutto
11 kg
Gtin
5415182058186
Długość
6
Waga netto
10 kg
Max. wymiar opakowania
591 cm
Min. wymiar opakowania
10 cm
Śr. wymiar opakowania
13 cm
Odpowiedni do
Markizy ścienne seria 5, 8
EAN
5415182058186
Zapytaj o produkt
Napisz swoją opinię




